山东沃团公司去年申请40多个分类的“雄安”商标,是巧合?还是.........

95商服网  •   • 关注:11100

2017年4月2日,一个叫公司秘闻(微信ID:high3c)的网友告诉95代办网,声称他们在一家第三方商标平台查询发现,多家公司正在申请或已经申请成功“雄安”商标。

其中,目前已有多家公司或个人申请注册“雄安”商标成功,包括上海永安锁具公司、永康雄安反光材料公司、重庆雄安保温工程有限公司等。

上海永安锁具申请“雄安”商标时间可以追溯到2005年,于2007年注册成功,其申请的是第7类“机械设备”;永康雄安注册成功时间是在2007年,其申请注册的是第24类“布料床单”;重庆雄安保温工程注册成功时间是在2015年6月,其申请的是第17类“橡胶制品”。

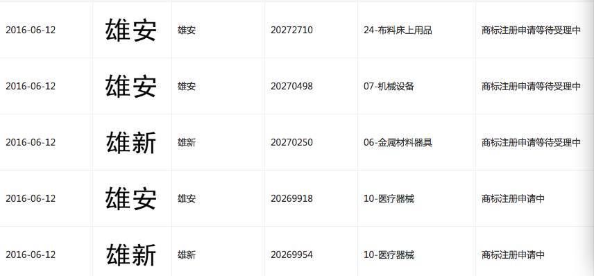
公司秘闻(微信ID:high3c)发现,2016年6月、12月,一家名为“山东沃团商贸有限公司”的企业,集中申请40多个分类的“雄安”商标,涉及分类从化学原料、颜料油漆到教育娱乐、餐饮住宿、医疗园艺等。


雄安商标


沃团商贸对雄安商标的申请状态

山东沃团商贸所申请的“雄安”商标,文字商标即为“雄安”二字,图案商标也是雄安二字,没有其它图形要素;目前状态显示为“商标注册申请等待受理中”或“商标注册申请受理通知书发文”。


申请者为一位互联网“创业明星”

工商信息显示,山东沃团商贸有限公司,地址为山东省淄博市高新区柳泉路鲁中晨报1213室,法定代表人为黄文广。

公开搜索中,基本没有关于山东沃团商贸的资料。有招商网站介绍称,沃团商贸与沃农宝公司,属于同一家集团。沃农宝公司的大股东为山东沃润德农业科技有限公司。后者由黄文广全资控股。

公开信息显示,黄文广生于1981年,淄博人,目前为山东沃润德农业科技有限公司董事长(以下简称沃润德)。

黄文广


黄文广照片来自淄博统一战线网

沃润德旗下有一家农资连锁公司。公开介绍称,该农资公司目前拥有14000余个农资加盟店、覆盖山东省内55个区县。

淄博当地党媒报道称,2015年10月,在阿里云创客大赛中,黄文广领衔的沃农资电商平台夺得全国总决赛亚军。

据报道,黄文广制定的未来三年发展“路线图”为:山东省内50个区县深耕细作,实现四大版块省内互联互通;2018年启动省外市场,2019年覆盖全国,市场规模达到1000亿。

淄博市委统战部官网的信息显示,黄文广还被河南大学、山西大学等十几所院校聘为客座教授、特聘教授,“几年来为十几万在校大学生传授关于自主创业的经验。”

4月2日,公司秘闻(微信ID:high3c),试图获知黄文广旗下公司大规模申请注册“雄安”商标的初衷。

一位办公室人士对公司秘闻称,黄文广最近时间安排比较紧,刚刚出访回来,很多事情也在等着他去做,不太方便接受采访。同时,公司秘闻(微信ID:high3c)委托一位与黄文广相熟的人士转达了采访问题,但未收到回复。

在接受公司秘闻采访时,一位律师援引法律条文说,县级以上行政区划的地名或者公众知晓的外国地名,不得作为商标注册。

“雄安商标申请的结局大概有两种:1、正在申请中但是尚未准许注册的,商标评审委员会将不会给予准许注册;2、已完成注册取得注册商标专用权的,有权依据商标法有关规定予以宣告无效或者依法撤销。”该律师称。

北京盈科律师事务所合伙人律师刘占林则认为,雄安是国家将新设立的行政地区,政策上重视度很高。商标局的审查过程中会比较严,“未来审查可能通不过”,“商标局可以用于驳回理由也很多,如县级以上行政区划地名不允许注册商标、可能造成不良影响”等。

更多有关雄安注册商标信息请登录95商服网(www.95ye.com),找代办就上95商服网!



更多雄安注册信息:

1、代办雄安注册公司流程及费用

2、如何在雄安注册新能源科技公司

3、陈培锋:关注雄安创业未来前景 为中小创业者提供精致服务

4、普岚秀思专家解读:为何成立中国雄安建设集团有限公司

5、雄安大建设在即 央企大街将堪比北京东二环,你做好在雄安注册公司的准备了吗?

6、从雄安新区设立看当地健康养老产业发展

7、北京人口随功能向雄安新区转移


北京泓灼商标注册事务所有限公司

北京泓灼商标注册事务所有限公司

北京泓灼商标注册事务所有限公司是集工商注册公司、会计师事务所、人力资源公司、会计公司于一体,专注于北京3万-10亿公司注册,增资,变更,验资、审计、代理记账、商标注册、代缴社保、会计实操培训、全国两。。。

商标注册

商标注册

商标注册是商标使用人取得商标专用权的前提和条件,只有经核准注册的商标,才受法律保护。商标注册原则是确定商标专用权的基本准则,不同的注册原则的选择,是各国立法者在这一个问题中对法律的确。。。

本文链接:https://www.95ye.com/article/5141.html(转载请保留)