河南省电子税务局税务师事务所证件补打操作流程说明

中国政务服务网  •   • 关注:7563

税务师事务所证件补打

一、业务描述

在此功能模块,纳税人可对税务师事务所证件进行补打。

二、操作流程

(一)业务办理流程

模块路径:首页-【我要办税】-【涉税专业服务机构管理】-【税务师事务所管理】-【税务师事务所证件补打】

1.打开【税务师事务所证件补打】,填写表单:

河南省电子税务局税务师事务所证件补打

注:表单中灰色项为自动带出不可编辑项,白色项为选填项,绿色项为必填项。

2.填写表单,点击【保存】按钮,待页面弹出提示框提示“保存成功!”。点击【确定】按钮,表单填写的内容被保存:

保存河南省电子税务局税务师事务所证件补打信息

3.若该业务没有需要上传的资料,确认填写无误后,点击【提交】按钮,待页面提示“提交成功!若无需继续办理业务,请及时退出系统!”后,点击【确定】,页面跳转至办税进度及结果信息查询:

页面跳转至办税进度及结果信息查询

(二)业务办理情况查询

1.办税进度及结果信息查询

模块路径:首页-【我要查询】-【办税进度及结果信息查询】

业务提交后,可在【办税进度及结果信息查询】,查看该业务办理进度及业务状态:

河南省电子税务局办税进度及结果信息查询

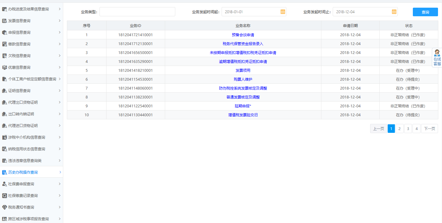
2.历史办税操作查询

模块路径:首页-【我要查询】-【历史办税操作查询】

业务办结后,可通过【历史办税操作查询】,查看企业已经办理完成的业务(即状态为已完成、已作废的业务),如下:

河南省电子税务局历史办税操作查询
河南省税务局

河南省税务局

国家税务总局河南省税务局的主要职责是: (一)负责贯彻执行党的路线、方针、政策,加强党的全面领导,履行全面从严治党责任,负责党的建设和思想政治建设工作。 (二)负责贯彻执行。。。

河南省电子税务局办税入口

河南省电子税务局办税入口

依照国家税务总局进一步推进建设全国规范统一的电子税务局的目标和具体规范要求,河南省网上税务局改版为国家税务总局河南省电子税务局,已于11月1日上线运行,特此通告。 新版电子税务局是依据全国统一的。。。

本文链接:https://www.95ye.com/article/17182.html(转载请保留)