天津市电子税务局跨区域涉税事项信息反馈操作流程说明

天津市电子税务局跨区域涉税事项信息反馈操作流程说明

79622020-05-31 12:16  95商服网

跨区域涉税事项信息反馈:

(1)登录天津市电子税务局点击左边菜单的“综合办理”,在页面中找到需要反馈的管理证明编号,点击对应的蓝字“未完成反馈”,进入反馈页面。如图:

反馈页面

(2)填写经营地涉税事项反馈表,点击橙色“保存”按键。如图:

填写经营地涉税事项反馈表

(3)保存成功后核对无误点击蓝色“提交”按键。税务局工作人员审核通过后,反馈结果显示为成功,审核不通过反馈结果显示为税务局工作人员填写的原因。如图:

核对无误提交

(4)审核通过后可以点击绿色“打印”按键,预览打印《经营地涉税事项反馈表》。如图:

预览打印

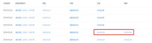
(5)在“综合办理”页面看到反馈和缴销栏已显示日期,表示跨区域涉税事项报告表已核销。如图:

综合办理

相关标签
相关内容