开具税收完税证明补打(表格式)
一、业务描述
窗体顶端
。
二、操作流程
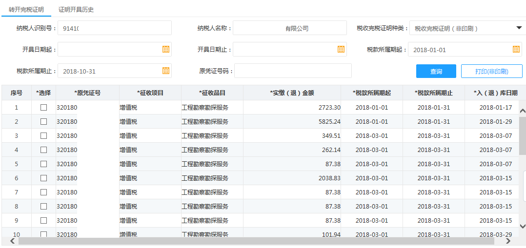
(一)完税证明补打
模块路径:首页-【我要办税】-【证明开具】-【开具税收完税证明补打(表格式)】-【完税证明补打】:

纳税人可根据实际情况填写检索框,点击【查询】按钮,可查询出满足条件的数据:

选择一条记录,点击【补打(表格式)】,如下:

点击【打印】,进入预览界面:
表单页面下方将显示打印次数。
(二)证明开具历史
模块路径:首页-【我要办税】-【证明开具】-【开具税收完税证明补打(表格式)】-【证明开具历史】:

纳税人可根据实际情况,输入开具日期,点击【查询】按钮,查询结果如下:

选择一条记录,点击【查看】,可查看已打印的完税证明信息:
